“我到1月才停止(供货),还有330多万元的货款没拿到。”供应商任先生说道。
4月1日,红星资本局从多名供应商获悉,工业电商平台
“我的万物集”(以下简称“万物集”)被曝“跑路”,目前万物集总部已人去楼空,员工被集中遣散,供应商面临货款拖欠无法兑现的处境。
自去年10月起,已有供应商发现回款中断。彼时万物集称,正在努力回款,随后也会不定期支付一部分货款,出于对平台合作背景的信任,不少供应商选择继续履约。直至今年2月,部分供应商收到银行已无授信额度的通知,前往万物集总部索要货款,才发现上海总部办公室已上锁,位于常熟的仓库办公室已被贴上封条。
目前多数供应商已选择报案或起诉。3月30日,红星资本局从上海市公安局徐汇分局获悉,相关案件仍在审查阶段。
总部已人去楼空
供应商称被拖欠数亿元货款
任先生与万物集合作多年,他曾是万物集前身固安捷中国的员工,后于2022年以供应商的身份与万物集合作。
“万物集是个工业品平台,我们给他们采购,提供手套等安防劳保类或工具类的物料供应,他们再给一些企业客户提供服务。”任先生介绍称。
供应商高女士与万物集合作已有五年时间,主要提供货架采购服务,最开始只是阶段性报价下单,后来与平台签订合同进行长期供应。
红星资本局从多名供应商获悉,万物集付款的模式主要有两种,一种是“背靠背”,即由供应商付款,等客户回款后,万物集再支付供应商货款资金;另一种则是通过银行供应链金融
模式支付,即万物集通过将货款合同发票提供给银行,由银行进行授信,每月初及月末按期将货款打给供应商。
任先生、高女士与万物集订立的付款方式均为供应链金融,但在今年2月,他们分别从银行处得知,万物集已无授信额度,无法付款。
而另一位供应商叶先生与万物集约定的付款方式则为“背靠背”,去年12月,叶先生发现万物集收到客户回款后并未支付货款,1月催款时,万物集表示,需要审核采购发票、合同2月付款,可春节后依旧未支付。
根据万物集发布的《致供应商伙伴书》,对于拖欠供应商货款一事,万物集彼时的解释为,“近期,因公司内部股东回购争议影响,导致公司现金流出现暂时性压力,进而影响了对贵司货款的及时支付”,并表示,已组建专项小组对所有应付账款梳理与核实,制定并公布付款计划或相应的解决方案。

图片来源:受访者供图
可供应商未能等到解决方案,却发现万物集总部人去楼空。2月25日,任先生前往万物集上海总部发现,公司正在搬东西,已无员工办公,接待他的律师表示,“公司保持最低程度的运营,90%的员工已离开”。而3月3日高女士前往万物集上海总部时发现办公室已上锁,位于常熟的仓库办公室已被贴上封条,封条上写着2月12日封。

图片来源:受访者供图
目前,任先生尚有330多万元的货款未结清,高女士、叶先生则分别有93万元、96万元货款未支付。另据任先生所述,万物集系统内有1200多家供应商,他所在的维权群已有500多家供应商被欠款,涉及金额超过2亿元。
去年10月已出现回款中断
有供应商出于信任继续供货
自去年10月起,已有供应商出现回款中断的情况。据任先生回忆,此前万物集付款周期相对稳定,每月初及月末会按时结算,直到去年10月,他发现回款中断,彼时万物集解释称,正在努力回款。后来,万物集也会不定期支付一部分货款,出于对平台央企合作背景的信任,他选择继续提供货物。
“万物集欠了很多(货款),但是他们和我们说已经在慢慢好转了,然后付了一部分小钱让我们继续供货,之前从来没有出过问题,就想着再继续给他们供货”,任先生说道。
高女士也表示,春节前她依旧在给万物集供货,虽然此前她也发现万物集会偶尔延迟几天打款,但彼时并没有多想,“工业品都有账期的,一般是6个月,以前到期的都能拿到”。直到去年6月到年底的货款迟迟未到账,陆续从其他供应商处得知,万物集已将员工集中遣散、总部人去楼空,她才意识到出了问题。
2月25日,任先生前往万物集上海总部时,法人代表周艳华还通过视频作出说明,承诺对于欠款会给出答复。但供应商却未能得到具体的解决方案,仅表示,可以以货抵款。但任先生并未接受,“货都是专供给万物集客户的,对我们来说没有用。”
在得知索要欠款难以追回后,任先生选择报案。3月2日,上海市公安局徐汇分局受理了任先生万物集合同诈骗案的报案。3月30日,红星资本局从相关案件负责人获悉,案件仍在审查阶段,“一般类案件最长审查期限为30天,经济犯罪类案件最长审查期限为60天,立案或不予立案都会在期限内给到报案人答复。”
高女士发现万物集人去楼空后,去报案时得知已有供应商报案,正在调查。她选择找律师起诉,据她所述,目前已收到法院通知,4月8日,相关案件将开庭。
3月30日,红星资本局拨打万物集官网客服电话提示,拨打的号码为空号,官网在线客服提示,客服不在线,而万物集《致供应商伙伴书》中显示的专项小组电话也无人接听。
曾获创新工场等资本追捧
并以“拟上市领头羊”高调宣传
据了解,万物集前身是全球工业品巨头固安捷中国,2020年通过管理层收购完成改制,成为独立运营的中资企业,2022年底正式更名为万物集,核心业务聚焦于非生产物资数字化采购服务,主要为大中型企业提供工业品采购供应链解决方案。
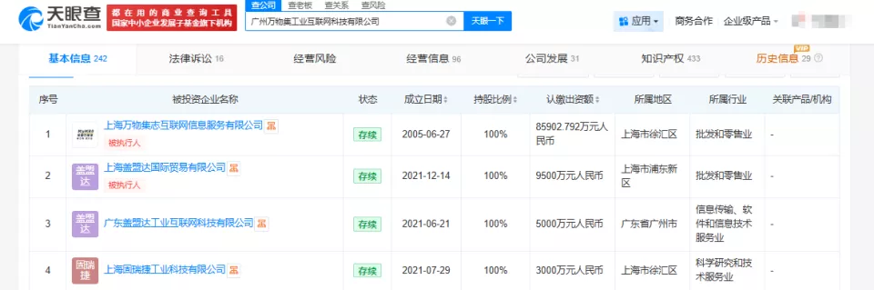
红星资本局注意到,万物集背后涉及较多的公司主体。在《致供应商伙伴书》中,涉及了上海盖盟达国际贸易有限公司(以下简称“上海盖盟达”)、广州万物集工业品有限公司两家公司,而万物集微信公众号认证主体则是上海万物集志互联网信息服务有限公司(以下简称“上海万物集志”)。
据任先生所述,上海盖盟达、广州万物集工业品有限公司主要面向供应商,而上海万物集志主要面向万物集的客户。
天眼查App显示,上海盖盟达、上海万物集志,目前均是被执行人,且两者均由广州万物集工业互联网科技有限公司(以下简称“广州万物集”)100%控股。广州万物集工业品有限公司则是广州万物集通过上海固瑞捷工业科技有限公司间接持股。而上述公司背后的法定代表人均为周艳华。

图片来源:天眼查App截图
值得一提的是广州万物集曾获得资本追捧。2020年以来,广州万物集先后完成5轮融资,投资方包括创新工场、招商局创投、洪泰基金、歌斐资产、大洋电机、方源资本、德岳资本等。最新一轮融资是2025年7月的B++轮融资,由洪泰基金投资。
而在2022年12月完成的B+轮融资中,多位投资人对万物集表示看好,甚至公开表达,万物集已在工业电商赛道“处于第一梯队”。而万物集也曾以“广州拟上市领头羊50强企业”公开宣传,并传出计划在2025年上市的消息。
对于如今高光后的衰落,苏商银行特约研究员付一夫表示,万物集欠款背后的根本原因在于其资金链的断裂,而这背后是商业模式缺陷与内部治理问题叠加的结果。万物集采用的两种供应商付款模式本质上都是将经营风险与资金压力高度集中于平台自身,且最终转嫁给供应商,是一种脆弱的资金运营结构。这揭示了部分工业电商平台“轻资产运营、重资金沉淀”模式的系统性风险——当规模增长无法带来真实的现金流安全垫时,任何微小的经营波动都可能导致整条供应链的崩盘。
任先生表示,此次万物集供应商的欠款主要涉及供应链金融,“120天的供应链金融,万物集主要是通过这个模式的时间差,把欠银行的钱转嫁到供应商头上”。
北京寻真律师事务所律师王德悦表示,万物集拖欠货款的行为构成合同违约,需承担支付货款、赔偿逾期利息等违约责任。供应商应先固定证据证明供货与欠款事实,再向法院提起民事诉讼,申请财产保全冻结平台及关联方账户、资产,若发现平台虚构事实骗取货款,同步向公安机关报案追究刑事责任。
北京德恒律师事务所律师陈正刚也指出,供应商与万物集之间成立合法有效的买卖合同关系,万物集未按约定按时支付货款,构成违约。万物集“人去楼空”、集中遣散员工、在资金链断裂后仍诱导供应商继续履约等情节,表明其可能从一开始或在履约过程中产生了非法占有供应商货款的目的,且如果涉案数达亿元,属数额特别巨大,具体有待法院查明其是否存在骗取、逃匿的情况。从民事路径来看,供应商应立即全面收集证据在固定和完善证据后,向法院起诉万物集违约,鉴于万物集现金资产可能不足,应重点关注股东和实际控制人的财产线索。从刑事路径来看,供应商可以准备万物集涉嫌合同诈骗罪的材料,向公安机关报案,通过追究刑事责任,形成还款压力。